02.01.2010, 00:27
|
#11
|
Регистрация: 23.05.2009
Адрес: Одесса
Сообщений: 134
|
Доработка низкочастотников делалась в два этапа – до поклейки подвесов и после.
Модификация 25ГД-41 до поклейки.
По рекомендации DСorp, наклеил на внутреннюю сторону каркаса полоски резины, чтобы уменьшить его резонансы и призвуки - одна полоска, около 10 мм шириной, по внутреннему периметру кольца, к которому крепится диффузор и 4 полоски, примерно 40х20 мм, на внутреннюю сторону стоек каркаса. Использовал ненужную камеру от велосипеда, толщина резины около 1 мм.
Услышать эффект от такой доработки можно, поставив динамик на твердую поверхность магнитом вниз и постучав по каркасу карандашом или чем-то подобным. С резинками каркас меньше звенит, и звон практически сразу затухает. Сонограммы «до» и «после» такой доработки есть здесь.
Далее клеил подвесы. Клей использовал «88»-й, разливной, покупал на «блошином» рынке. При нанесении клея нужно найти золотую середину – если его много, он излишне пропитывает диффузор и подвес, утяжеляет подвижную систему, если мало, клеевое соединение будет непрочным. Фотографии описанных действий есть на этой страничке.
Сначала приклеил подвесы к диффузорам.
Затем, когда клей высох, центрировал катушку. Нарезал полоски из тонкой пластиковой папки для бумаг, поместил катушку с диффузором в магнитный зазор и равномерно распределил полоски между катушкой и сердечником. Полосок должно быть столько, чтобы катушка могла двигаться вверх-вниз с небольшим трением. Для центрирования катушек раньше применяли целлулоидную фотопленку, можно найти папки из похожего материала – упругого и тонкого.
Когда подобрано необходимое количество полосок, диффузор с катушкой вынимаются и на подвес, центрирующую шайбу и соответствующие места каркаса наносится клей. Чтобы при центрировании катушки подвес не прилип к каркасу раньше времени, из обычного пластикового пакета нарезал несколько полосок и положил их на каркас поверх клея. В зазор устанавливаются подобранные центрирующие полоски (их можно при примерке скрепить скотчем изнутри), на них надевается катушка и с небольшим усилием, без перекосов, опускается в зазор. Не забудьте развернуть диффузор так, чтобы подводящие провода без натяжения доставали до контактов на каркасе. После того, как центрирующая шайба коснется каркаса, опускаем катушку еще примерно на 1 мм и прижимаем по периметру шайбу. Прижимать нужно, наращивая усилие с каждым кругом, стараясь не растягивать и не перекашивать шайбу. Теперь можно удалить пленку из-под подвеса, и так же аккуратно и равномерно прижать подвес к раме. В таком виде, не вынимая центрирующие полоски, динамик нужно оставить не меньше, чем на сутки (лучше больше).
После удаления центрирующих полосок нужно попробовать несильными нажатиями, насколько легко и без помех опускается и поднимается подвижная система. Если услышите и почувствуете, что катушка задевает магнит, значит центрирование было сделано с ошибками. Поискав ошибки и пути, как их можно избежать, нужно отклеивать подвес и шайбу и центрировать заново...
Последний раз редактировалось Человек; 07.05.2012 в 22:16.
|
|
|
|
Следующие пользователи 3 поблагодарили Человек за это полезное сообщение
|
|
16.01.2010, 02:07
|
#12
|
Регистрация: 23.05.2009
Адрес: Одесса
Сообщений: 134
|
Модификация 25ГД-41 после переклейки подвеса.
В сети есть информация, что два отверстия в диффузоре низкочастотников вносят дополнительные призвуки, при движении диффузора проходящий через них воздух «похрюкивает». Но они нужны для отвода воздуха из-под колпака и для охлаждения катушки. Еще встречал информацию, что если есть отверстие в керне динамика, оно справляется с этими функциями. В дорабатываемых 25ГД-41 отверстия в кернах есть, поэтому отверстия в диффузорах решил заклеить. Подобрал подходящий по толщине картон (обложка папки для бумаг), вырезал четыре овала так, чтобы они входили в отверстия и приклеил их к диффузорам клеем ПВА. На тыльной стороне диффузора, за этими отверстиями, есть сеточки, удалять их не нужно, вставки наклеиваются прямо на них.
Колпаки.
«Родные» колпаки низкочастотников большие, покрывали около 50% площади диффузора, много весят, утяжеляют подвижную систему и вряд ли благотворно влияют на звук. DCorp проводил эксперименты и выкладывал результаты измерений - как размер, вес, материал изготовления колпачка или его отсутствие влияют на звук. Судя по графикам и описаниям, стандартный колпак вносит искажения в верхний диапазон частот, воспроизводимых 25ГД-41 (выше 600Гц) и лучшие результаты были вообще без колпака.
Сам с разными колпаками не экспериментировал, для этого нужен отдельный динамик, который выдержит несколько приклеек и отклеек колпаков, а приобрести его за время доработки не удалось. Да и выбор колпаков на радиорынке был совсем небольшой. Один из продавцов, порылся в залежах и как в былые времена, «из-под прилавка», достал несколько бумажных колпаков диаметром 10.2 см, покрытых жесткой блестящей пленкой. Их я и купил. Они были меньше штатных по размеру и по весу, но недостаточно легкие.
Учитывая эксперименты и рекомендации DCorp, решил попробовать самостоятельно изготовить тканевые колпачки, которые были бы легкими и не «звучали». В итоге их не использовал, но думаю, их можно было применить, если сделать без получившихся недостатков. Нашел тонкую ткань, похожую на кисею, и другую, ситец, немного плотнее, но тоже легко продуваемую. Форму делал из гипса (верх) и алебастра (низ). Это не тонкое инженерное решение, просто в ближайшем магазине не вовремя закончился гипс. Сначала сделал верхнюю часть – на внутренние стенки пиалы подходящего размера положил пищевую клеенку, чтобы потом легко отделить форму, и залил гипсом с густотой сметаны. На незастывший гипс сверху положил детский резиновый мячик диаметром примерно 14 см и вдавил его в гипс на заранее определенную глубину.
На следующий день, не вынимая форму из пиалы, скальпелем выровнял наружный край по окружности, и сделал его под углом, чтобы край будущего колпака так же был под углом и повторял конус диффузора (видно на фото ниже). После этого покрыл форму несколькими слоями лака. Лак впитался в гипс, укрепил его и образовал гладкое покрытие. После высыхания лака намазал форму аптечным вазелином и залил сверху жидким алебастром. Раствор должен быть достаточно жидким, чтобы затечь во все углубления формы, но не слишком, иначе она будет непрочной. У меня часть формы из алебастра получилась как раз недостаточно прочной. Когда алебастр затвердел и высох, довольно легко разделил половинки формы и нижнюю часть также покрыл лаком (шеллаком)…
Здесь форма после изготовления одного колпачка
Последний раз редактировалось Человек; 07.05.2012 в 22:18.
|
|
|
|
Следующий пользователь поблагодарил Человек за это полезное сообщение
|
|
16.01.2010, 02:25
|
#13
|
Регистрация: 23.05.2009
Адрес: Одесса
Сообщений: 134
|
Предварительно сделал несколько маленьких формочек из пластилина и попробовал на разных тканях разные пропитки. После пропитки разбавленным шеллаком через колпак хорошо проходил воздух, но он был мягковатым и мог «хлюпать» на большой громкости. Когда пропитывал ткань эпоксидкой, сильно разведенной ацетоном, колпак получался жестким, но не так хорошо продуваемым. В итоге выбор пал на эпоксидку и ту ткань из двух, которая потолще.
Вырезал круглую заготовку с запасом, смешал эпоксидку с отвердителем 2:1 и сильно разбавил ацетоном. Пропитал ткань, хорошо промокнул салфетками, чтобы клей остался только в волокнах ткани, а не между ними, и уложил на нижнюю часть формы, предварительно промазанную вазелином. Накрыл верхней частью, за выглядывающие края ткани натянул и распрямил заготовку, и оставил до застывания смолы. Когда извлекал колпак из формы, немного повредил лаковое покрытие, видно, неравномерно распределил вазелин и не хватило прочности покрытия.
Обрезал края и в результате получился легкий, жесткий, пропускающий воздух колпачок. Но без недостатков не обошлось. Край колпачка был заметно волнистым, и приклеить его к диффузору без просветов вряд ли бы получилось. Правда, эти просветы могли служить для дополнительного оттока воздуха.
Кривизна колпака получилось большой, он слишком выпуклый.
Переделывать уже не стал, к тому моменту нашел информацию, что отверстия в керне достаточно для движения воздуха под колпаком, да и форму для повторного использования нужно было реставрировать, поэтому в ход пошли бумажные колпаки.
Избежать описанных недостатков при изготовлении самодельных тканевых колпачков, думаю, можно так:
- Предварительно попробовать разные материалы для изготовления формы (гипс, алебастр и др.) и выбрать наиболее прочный.
- Использовать для создания формы шар большего диаметра. Этот был около 14 см. Тогда кривизна колпачка будет меньшей, он будет более пологим, ткань при укладке будет меньше морщиться и край будет не таким волнистым.
- Если пропитать ткань не эпоксидкой, а, например, нитролаком, тогда при приклейке можно размочить волнистый край колпачка ацетоном (или другим растворителем), разровнять его и приклеить к диффузору тем же нитролаком.
- Диаметр колпачка может быть еще меньше (у меня получился 9 см).
В общем, есть поле для экспериментов.
Еще совет от DCorp – если вы решили заклеить отверстия в диффузоре низкочастотника, тканевых колпачков у вас нет, а в керне динамика отверстие отсутствует (есть и такие), тогда для циркуляции воздуха можно вырезать отверстия диаметром примерно 15 мм в центре имеющихся бумажных колпаков, и закрыть эти отверстия хорошо продуваемой тканью, приклеив ее на внутреннюю сторону колпачков.
В результате, купленные бумажные колпаки приклеил к диффузорам нитролаком, чтобы место склейки было жестким и, при необходимости, его можно было отмочить ацетоном.
Можно использовать для этого и клей, который становится жестким после высыхания, например Dragon, только если думаете со временем менять колпаки, неплохо бы выяснить, чем этот клей потом можно будет растворить…
Последний раз редактировалось Человек; 07.05.2012 в 22:19.
|
|
|
|
Следующие пользователи 2 поблагодарили Человек за это полезное сообщение
|
|
20.01.2010, 21:43
|
#14
|
Регистрация: 20.01.2010
Адрес: Прекрасное далёко
Сообщений: 307
|
Цитата:
Сообщение от Человек
2...Возможно, замена среднечастотных головок...
|
Хорошо себя показали среднечастотные головки от коллеги DCorpа.
|
|
|
28.01.2010, 01:39
|
#15
|
Регистрация: 23.05.2009
Адрес: Одесса
Сообщений: 134
|
Провода.
До недавнего времени скептически относился к влиянию проводов на звук. Такое отношение было основано не на экспериментах, а как раз, на их отсутствии. Заменив акустические кабели при прослушивании Амфитонов, разницу в звуке, таки, услышал и решил изучить это явление внимательней. Пошерстил Интернет, кроме прочего нашел этот и этот ресурсы, почитал эту тему на Вегалабе и начал «слушать» разные провода.
Первоначально планировал использовать такой Klotz. Даже успел закупить его в нужном количестве. Пока Амфитоны были в работе, подключил к интегральнику Marantz PM-200 (примерно 80-й год) компактные советские колонки 25АС-416. Из разных проводников, в том числе и обмоточных, делал плетеные конструкции с различной изоляцией, свивал, плел или собирал в литцентдрат и подключал в качестве акустических проводов. В итоге, для внутренней разводки выбрал по звуку те конструкции , которые были сделаны из проводников старого телефонного кабеля ТПП 80-х годов, диаметром меди около 0.4 мм, в полиэтиленовой изоляции. В детстве мы называли их «цветные проводки».
Сначала свил по два проводка в витые пары, против часовой стрелки
потом развил и пересвил красный с красным, зеленый с зеленым, бесцветный с бесцветным, чтобы цветов хватило для плетения двух видов проводов.
Затем сплел их по принципу Z-Cross
Свивать удобно при помощи дрели, а такое плетение и другие варианты изготовления проводов своими руками подробно описаны на сайте Amurа. Для входных проводов и проводов на низкочастотники использовал 8 витых пар на один провод, для средне и высокочастотников – по 6 пар. Плетение проводов - это неспешное и, в определенном смысле, медитативное занятие. Можно сосредоточится только на этом процессе, в перерывах думая о хорошем звуке. Кроме того, если вы собираетесь куда-то, где будет свободное время, можно взять это "вязание" с собой, чтобы не прерывать процесс. Мне удалось поплести дома, на работе (в перерывах), в междугородней поездке и на берегу соленого озера.
При прослушивании этих проводов в качестве акустических определил их направление, при котором звук нравился больше, и делал разводку в колонках с учетом этого направления. Провода разворачивал так, чтобы направленность шла к «плюсу» и от «минуса» динамиков. Если на слух эти манипуляции ничего не меняют, можно и не заморачиваться, правда, может случиться так, что со временем уши станут слышать больше, глядишь, и учет направленности окажется полезным. В любом случае, на отслушивание и контроль направленности проводов при их изготовлении и пайке у меня ушло, в сумме, около 1 часа. Учитывая общее время доработки колонок, это совсем немного.
Длину внутренних проводов лучше выбрать такую, чтобы можно было без особого натяжения припаять их к динамикам и деталям фильтра. Экстремально уменьшать длину не стоит. Для экспериментов с демпфированием, других изменений и доработок при окончательной настройке колонок низкочастотные динамики нужно будет демонтировать несколько раз. Если провода короткие, они не дадут полностью вытащить динамик, будут мешать доступу во внутрь колонки и при сильном натяжении могут повредить контакты динамика или фильтра. И при самостоятельном плетении нужно учитывать, что длина готового провода будет на 8-10% меньше заготовок.
Для соединения деталей в фильтрах использовал те же проводники из телефонного кабеля, но не плетенные, а просто скрученные против часовой стрелке. Количество жил – 8. В тайм-план изготовления таких проводов дополнительно нужно внести 1-2 часа на их подготовку к пайке – зачистку и облуживание концов каждого проводка…
Последний раз редактировалось Человек; 07.05.2012 в 22:19.
|
|
|
|
Следующие пользователи 2 поблагодарили Человек за это полезное сообщение
|
|
06.02.2010, 01:49
|
#16
|
Регистрация: 23.05.2009
Адрес: Одесса
Сообщений: 134
|
Доработка фильтров.
Есть мнение, что металлическое основание фильтров, на котором закреплены катушки, может считаться еще одним, замкнутым витком. Этот «виток» изменяет индуктивности катушек, и параметры фильтра, расчитанные разработчиками, меняются. Оппоненты говорят, что для советских динамиков эти изменения не существенны и в конечном итоге не слышны. Чтобы исключить такое, пусть и мизерное влияние на звук, решил таки заменить металл на дерево и сделал основания для фильтров из фанеры 6 мм.
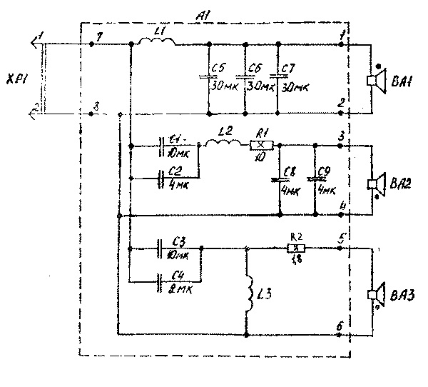
Перед работой с фильтрами изучил их схемы в Интернете. Есть несколько вариантов, вот один из них.
Здесь ВА1 - низкочастотник, ВА2 - среднечастотник, ВА3 - высокочастотник. Встречал вариант схемы (вероятно, более поздний), где в высокочастотном звене не было резистора R2. В дорабатываемых колонках как раз обошлись без этих резисторов. Почему изменили схему, неизвестно. Может это рацпредложение завода-изготовителя, а может «несуны» обменяли ведро резисторов на пару бутылок «Пшеничной» и их просто не хватило на фильтры. До доработки особого дисбаланса в звуке слышно не было, поэтому новые фильтры монтировал без резисторов R2. Но позже к ним еще вернулся.
Кстати, металлический винт, которым прикручиваются резисторы, может повышать их индуктивность. По конструкции они представляют собой катушки из высокоомного провода на керамическом каркасе, а винт служит еще и сердечником. Дабы все было по науке, винты из резисторов изьял.
Также было интересно послушать, как «звучат» разные конденсаторы в фильтрах. Для низких частот оставил штатные МБГО-2, для средних использовал советские пленочные К73-16, для высоких К73-16 или Wima (какие именно оставить, решил после тестового прослушивания). Все конденсаторы заказал у DCorp. Они приехали подобранными парами для каждой колонки, с точно указанными номиналами. Емкости до нужных значений набирал из нескольких конденсаторов, соединяя их параллельно. Когда компоновал детали для фильтров, измерил емкость каждого МБГО с точностью до десятых и распределил их так, чтобы в обоих фильтра их суммарная емкость была примерно одинаковой.
Для крепления элементов использовал пластиковые хомуты. Их торговое название «кабельная стяжка», продаются в магазинах «Все для ремонта». Топологию элементов фильтра оставил заводскую. Если будете менять расположение деталей, катушки советуют крепить на максимальном расстоянии друг от друга и металлических элементов.
Предварительно разложив все детали, разметил фанерные заготовки, просверлил отверстия под хомуты, отшлифовал и покрыл несколькими слоями самодельного лака Шеллака (подойдет и другой доступный лак).
По ходу работы досверлил еще несколько отверстий, чтобы лучше закрепить конденсаторы. Соединил детали подготовленными проводами, припаял отводы и пометил их бирками из изоленты.
Еще раз все перепроверил и уже перед установкой фильтров в колонки обнаружил, что перепутал по рассположению и подключению средне- и высокочастотные конденсаторы. Устранил ошибку быстро, обрезав хомуты и просверлив пару дополнительных отверстий, но упущение имело место, хоть и старался быть внимательным. Как говорится, лучше перебдеть…
Здесь конденсаторы уже смонтированы правильно

Последний раз редактировалось Человек; 07.05.2012 в 22:20.
|
|
|
|
Следующий пользователь поблагодарил Человек за это полезное сообщение
|
|
18.02.2010, 01:44
|
#17
|
Регистрация: 23.05.2009
Адрес: Одесса
Сообщений: 134
|
Предварительное прослушивание. Попытка замены среднечастотников.
К моменту, когда были сделаны провода и собраны фильтры, удалось купить динамики 30ГДС-1-8. Они считаются одними из лучших советских среднечастотников, есть отзывы в Интернете, что установив их вместо 15ГД (20ГДС) середина у Амфитонов станет гораздо лучше, даже без корректировки фильтров. Размеры динамиков во многом совпадают, у 30ГДС более высокий магнит, но в посадочные места Амфитонов они стали без проблем.
Год производства динамиков– 1993. Говорят, что после 90-го года резко упало качество товаров, производимых в СССР, а затем в СНГ. Эти динамики тому подтверждение. Внешне они выглядели хорошо, клеммы одного из них даже не были паяны, но дома при тщательном осмотре и прослушивании оказалось, что в одном динамике подвес приклеен вверх ногами, и в обоих катушки трутся о магнит. Кроме всего, подвесы были полностью облиты клеем. Возможно, это была отбраковка.
Динамики разобрал (там еще и винта крепления магнитной системы не хватало), немного клея отмыл, подвес переклеил, катушки отцентрировал и таким образом подготовил их к экспериментам.
Прослушивание делал, чтобы узнать, что изменилось в звуке на этом этапе, сравнить звучание со старыми и новыми фильтрами, определить, какие конденсаторы лучше использовать для высокочастотника и решить, стоит ли заменять среднечастотный 15ГД на 30ГДС.
Для дополнительного демпфирования колонок сшил из двухслойной марли по два мешочка для каждой колонки размером примерно 27х25 см и неплотно наполнил их ватой. Получились такие подушки.
Ваты из одного заводского валика хватает на две подушки. Разместил их внутри корпусов.
Далее, надел на каркас 15ГД кольцо из поролона так, чтобы оно закрывало просветы между стойками каркаса. Получился очень приблизительный вариант панели акустического сопротивления (ПАС), о которой можно прочитать тут. Делается она для демпфирования диффузора среднечастотника, чтобы уменьшить добротность динамика и немного «прочистить» середину.
Сначала слушал разницу в звуке с заводским и доработанным фильтром. Провода для динамиков использовал новые, среднечастотник родной, 15ГД. Подключил заводской фильтр от второй колонки, который специально оставил нетронутым. Прослушал несколько хорошо знакомых композиций с мужским и женским вокалом. То же проделал и с новым фильтром. Описывать услышанные изменения, это как объяснять слепому, как выглядит солнце – лучше послушать самому и сделать собственные выводы. Скажу лишь, что мне понравились перемены, с новым фильтром звук стал чище, стали лучше слышны нюансы и детали.
Затем заменил в цепи высокочастотника уже доработанного фильтра конденсатор К73-16 на Wima и снова прослушал те же композиции. Как сказал DCorp, эффект от смены конденсаторов в этой цепи – это примерно половина эффекта от смены акустического кабеля. Где-то так и есть. Wima понравилась больше (она не могла меньше понравиться, она стоит в 10 раз больше :-). Высокие стали более аккуратными, что ли.
И на закуску установил 30ГДС вместо 15ГД. Читал, что если в заводской АС заменить некоторые динамики, так, с бухты-барахты, без тщательных расчетов, то это будет уже не АС, а набор динамиков в каком-то ящике. Середина с 30ГДС стала разборчивее и чище, но появился провал в нижней середине и акцент на верхней. Стало меньше «теплоты» в звуке, почти исчез почерк колонок, который был слышен и до доработки. Скорее всего это потому, что частотный диапазон 30ГДС смещен немного вверх по сравнению с 15ГД (20ГДС) и поколдовав с фильтрами можно было сбалансировать звук. Но без изменений в фильтрах звук рассыпался и потерял цельность. Умений и оборудования для экспериментов с фильтрами у меня было недостаточно, поэтому 15ГД остались в Амфитонах петь голосом Дэвида Сильвиана…
Последний раз редактировалось Человек; 07.05.2012 в 22:21.
|
|
|
20.02.2010, 01:29
|
#18
|
Регистрация: 23.05.2009
Адрес: Одесса
Сообщений: 134
|
Декоративная обработка корпусов и еще немного демпфирования.
Первоначально планировал покрасить корпуса черной матовой акриловой краской из баллончика. Попробовал на одной колонке, она стала напоминать офисную тумбочку. Сошлифовал шлифмашинкой новую, а заодно и заводскую краску с передних панелей и обнаружил под краской натуральный шпон красного дерева. Шпон тонкий, а поверхность ДСП не идеально ровная. Как я ни старался снимать краску аккуратно, чтобы оставить шпон в целости, все равно в некоторых местах он стесался до ДСП. Была мысль обклеить другим шпоном, но без специальных навыков и инструментов для этого нужно много времени и сил. В итоге, по соотношению практичность-внешний вид-трудозатраты выбрал виниловую самоклеющуюся пленку «под красное дерево». Купил с запасом, самоклейка иногда неудачно самонаклеивается. Запас пригодился. Приклеить заготовку с первого прохода трудно, то морщины образуются, то немного неровно пойдет, нужно отлепить какой-то участок и приклеить повторно. При отклеивании к пленке прилипали мелкие щепки шпона, которые при повторной приклейке образовывали пупырышки. Оторвал пупырчатую пленку, снова зашкурил шпон и покрыл его тонким слоем лака. Это укрепило поверхность и сделало ее более гладкой. После лакировки щепки от шпона не отлущивались даже при нескольких циклах приклейки-отклейки.
Если решите обклеивать корпуса самоклейкой, это можно делать прямо поверх заводской краски, чтобы избежать лишних операций. Только нужно учитывать, что пленка тонкая, хорошо облегает даже небольшие неровности и подчеркивает их. Поэтому подровнять поверхность все же стоит.
Распорки в корпусах обмотал полосками ватина из старого дивана. Из него же сшил чехольчики для стаканов среднечастотников и труб фазоинверторов.
От металлических решеток, закрывающих динамики решил отказаться, чтобы исключить еще несколько потенциально дребезжащих деталей. А вот без серебристых колец-накладок передняя панель Амфитонов выглядела непривлекательно. По периметру динамиков, между каркасами и ДСП оставались просветы, которые захотел как-то закрыть. Первоначально думал использовать штатные накладки, но по ходу работы появилось желание сделать другие. Новые накладки выпилил лобзиком из фанеры 4-ки. Под них, чтобы не дребезжали, вырезал из мягкого линолеума кольца-прокладки, которые покрасил черным акрилом из баллончика.
Покрыл накладки несколькими слоями лака Шеллака и приклеил к ним линолеумные кольца. Затем разметил и просверлил отверстия под винты.
Накладки высокочастотных динамиком оставил заводские, в них есть подобия рупорков, которые, по-видимому, помогают расширить узкую направленность 10ГИ. В этих накладках есть по две щели, которые по замыслу автора должны совпадать с аналогичными просветами высокочастотника.
Но не тут-то было, не совпадают и частично закрывают и без того неширокие просветы в 10ГИ. Поэтому перегородки в накладках удалил,
после чего покрасил их тем же черным акрилом…
Последний раз редактировалось Человек; 07.05.2012 в 22:22.
|
|
|
|
Следующий пользователь поблагодарил Человек за это полезное сообщение
|
|
20.02.2010, 01:56
|
#19
|
Регистрация: 20.01.2010
Адрес: Прекрасное далёко
Сообщений: 307
|
Рекомендую Вам вообще удалить эту накладку, т.к. в заводском варианте она создает пик-провал на 7-10 кГц и сужает диаграмму направленности. Я шел в точности таким же путем: сначала удалил перемычку, а после вообще отказался от накладки. Для этого пришлось придумывать крепеж для высокочастотника. Теперь он закреплен изнутри двумя скобами на подобии тех, что крепили кулер на старых процессорах. У меня лицевая панель вместе с 10ГИ-1 оклеена бархатом. Это кардинально меняет характер звучания в СЧ-ВЧ диапазоне -звук становится собранным, четко локализуются КИЗ. Ящик я сделал закрытым. Субъективно бас поубавился, но стал очень четким и собранным (хотя, это еще сильно зависит от усилителя).
|
|
|
|
Следующий пользователь поблагодарил Гуру поменьше за это полезное сообщение
|
|
21.02.2010, 15:35
|
#20
|
Регистрация: 20.01.2010
Адрес: Прекрасное далёко
Сообщений: 307
|
СЧ от DCorp
Вот такие динамики изготавливает коллега DCorp.
|
|
|
Ваши права в разделе
|
Вы не можете создавать новые темы
Вы не можете отвечать в темах
Вы не можете прикреплять вложения
Вы не можете редактировать свои сообщения
HTML код Выкл.
|
|
|
Часовой пояс GMT +4, время: 11:35.
|